Apple ဟာ ၂၀၂၂ ခုနှစ်က iPhone 14 မှာ ဂြိုဟ်တုကနေတစ်ဆင့် အရေးပေါ်အကူအညီတောင်းခံနိုင်တဲ့ (Emergency SOS) စနစ်ကို စတင်မိတ်ဆက်ခဲ့ပြီး လူ့အသက်တွေကို ကယ်တင်နိုင်ခဲ့ပါတယ်။ ဒါပေမဲ့ အဲဒီစနစ်မှာ ဂြိုဟ်တုနဲ့ ချိတ်ဆက်ဖို့ အခက်အခဲတချို့ ရှိနေဆဲ ဖြစ်ပါတယ်။
အသုံးပြုသူတွေဟာ ဖုန်းကို ကမ္ဘာပတ်လမ်းကြောင်းထဲက ရွေ့လျားနေတဲ့ ဂြိုဟ်တုဆီ ချိန်ရွယ်ထားရပြီး အဆောက်အအုံတွေ၊ သစ်ပင်တွေနဲ့ မြေမျက်နှာသွင်ပြင်တွေကြောင့် ချိတ်ဆက်ချိန် ကန့်သတ်ချက်တွေ ရှိနေပါတယ်။ ဖုန်းရဲ့ အင်တင်နာဟာ သေးငယ်တဲ့အတွက် ဂြိုဟ်တု မရွေ့သွားခင် ဒေတာပမာဏ နည်းနည်းကိုသာ ပေးပို့နိုင်တာ ဖြစ်ပါတယ်။

အခုအခါမှာတော့ ၂၀၂၄ ခုနှစ်က တင်သွင်းခဲ့တဲ့ မူပိုင်ခွင့်အသစ်အရ Apple ဟာ ဒီပြဿနာကို ဖြေရှင်းဖို့ ကြိုးစားနေတာကို တွေ့ရပါတယ်။ အဲဒီမူပိုင်ခွင့်မှာ ဖုန်းကာဗာကို အင်တင်နာအဖြစ် အသုံးပြုမယ့် နည်းလမ်းကို ဖော်ပြထားပါတယ်။
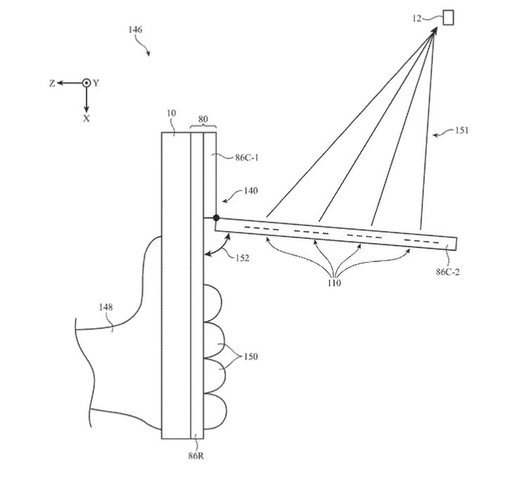
အဲဒီကာဗာမှာ phased array antenna လို့ခေါ်တဲ့ ဖမ်းယူပို့လွှတ်စနစ်တွေ ပါဝင်မှာဖြစ်ပြီး ဂြိုဟ်တုတစ်လုံးတည်းကို ရှာစရာမလိုဘဲ ဂြိုဟ်တုအုပ်စုလိုက်နဲ့ ချိတ်ဆက်နိုင်မှာ ဖြစ်ပါတယ်။ ဒါကြောင့် ဂြိုဟ်တုတွေ ရွေ့လျားသွားရင်တောင် ချိတ်ဆက်မှု မပြတ်တောက်အောင် လုပ်ဆောင်ပေးနိုင်မှာ ဖြစ်ပါတယ်။
အဲဒီကာဗာကို သာမန်ကာဗာတွေလိုပဲ အလွယ်တကူ တပ်ဆင် ဖြုတ်သိမ်းနိုင်ပြီး iPad တွေမှာဆိုရင် Smart Connector ကနေတစ်ဆင့် ပါဝါရယူမှာ ဖြစ်ပါတယ်။ ကာဗာကို ဖွင့်လိုက်တဲ့အခါ အင်တင်နာဟာ ကောင်းကင်ကို ချိန်ရွယ်ထားမှာဖြစ်လို့ အသုံးပြုသူရဲ့ လက်နဲ့ ကွယ်နေတာမျိုး မဖြစ်နိုင်တော့ပါဘူး။

ဖုန်းနဲ့ ကာဗာကြားကို NFC လိုမျိုး ကြိုးမဲ့စနစ်တွေနဲ့ ချိတ်ဆက်ပြီး ဒေတာတွေ ပေးပို့မှာ ဖြစ်ပါတယ်။ ဒီလို အင်တင်နာ အကြီးကြီးကို အသုံးပြုလိုက်တာကြောင့် ဒေတာတွေ ပိုမိုပေးပို့နိုင်မှာဖြစ်ပြီး Apple ရဲ့ ရည်မှန်းချက်ဖြစ်တဲ့ ဂြိုဟ်တုအင်တာနက် အပြည့်အဝ အသုံးပြုနိုင်ရေးကို အကောင်အထည်ဖော်နိုင်တော့မှာ ဖြစ်ပါတယ်။
ဒီနည်းပညာဟာ ကောင်းမွန်ပေမယ့် ကာဗာကို အသုံးပြုရမှာဖြစ်လို့ အားနည်းချက်တချို့ ရှိနေပါတယ်။ လက်ရှိ အရေးပေါ်စနစ်ကတော့ ဖုန်းလိုင်းမရတဲ့ အချိန်တိုင်းမှာ လူတိုင်း အလွယ်တကူ သုံးနိုင်ပေမယ့် ဒီကာဗာကိုတော့ လိုအပ်မယ်လို့ ကြိုတင်ခန့်မှန်းပြီး ဝယ်ယူတပ်ဆင်ထားသူတွေသာ အသုံးပြုနိုင်မှာ ဖြစ်ပါတယ်။
ဒါကြောင့် အကောင်းဆုံးကတော့ ဒီလိုစွမ်းဆောင်ရည်မျိုးကို ကာဗာမှာမဟုတ်ဘဲ iPhone ထဲမှာပဲ တိုက်ရိုက် ထည့်သွင်းနိုင်ဖို့ ဖြစ်ပါတယ်။ အဲဒီလို မလုပ်နိုင်သေးခင် အချိန်အထိတော့ ဂြိုဟ်တုချိတ်ဆက်မှုကို ပိုကောင်းစေမယ့် ကာဗာတွေကို မကြာခင် မြင်တွေ့ရဖွယ် ရှိနေပါတယ်။
Ref: Appleinsider